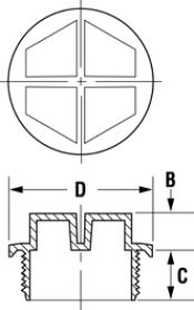
The UT Series is designed to protect unified/straight-threaded ports. Each plug features an integral tight fit sealing lip along with five complete threads. This design prevents contaminants from entering, while keeping fluids from escaping, without the use of an additional O-ring. May be applied and removed with a screwdriver, socket wrench, power tool, or manually.
- Molded in O-ring sealing bead
- Easy to install & remove
Material: High-density polyethylene
Standard Colour: Red
Request a Call Back
For more information or to order samples we'd be pleased to call you back.






