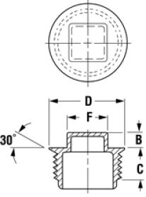
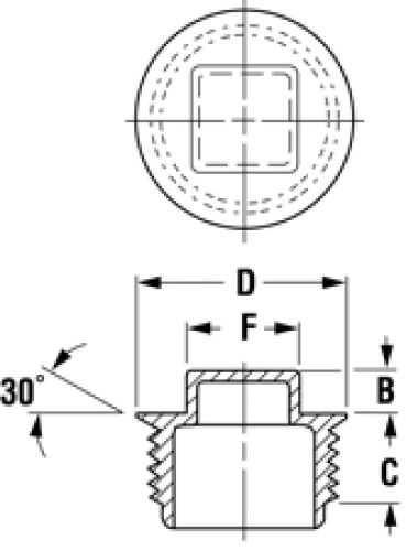
The flange design protects the circumference of the port while simultaneously protecting the threads from damage, contaminants and moisture. The TPN-F Series is commonly used for low-pressure testing and in-plant processing. These plugs combat oil and heat up to 121ÂșC.
- Fits NPT threads
- Easy to use
- Square head design*
*(TPN-1F- Hexagonal head)
Material: High-density polyethylene
Standard Colour: Black
Request a Call Back
For more information or to order samples we'd be pleased to call you back.






