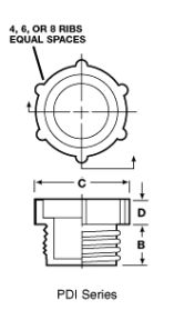
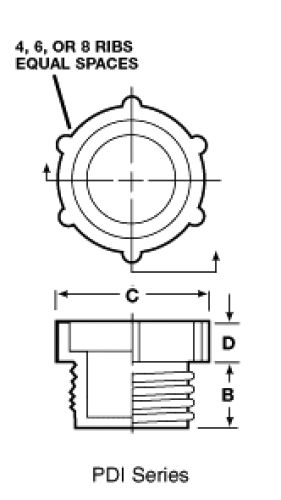
PDI Series threaded plastic plugs are designed for use on inverted flared fittings. Knurled for ease of use and can be finger tighten to seal. Plugs will seal boss type fittings without gaskets.
- Fits common thread sizes
- For Inverted flared fittings
- Knurled for easy installation and removal
Material: Low-density polyethylene
Standard Colour: Red
Request a Call Back
For more information or to order samples we'd be pleased to call you back.






